欢迎来到壹号娱乐-comB2B订单网,请登录

800px-35KV双通.png
  • 800px-35KV双通.png
  • 800px-35KV双通2.png

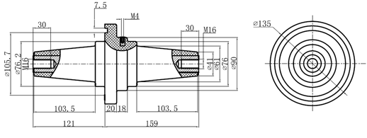
欧式E型双通套管

可用于35kV不带开关的分支箱,作对接套管用。 产品可安装密封圈,可用于充气柜或充油设备上,做出线套管用。 与插头配合的接口符合欧标EN50181标准中的E型尺寸。 与插头配合的接口同时也符合美标IEEE386标准中,35kV套管尺寸设计。 本产品内设电容测试点,可连接带电指示器。

收藏商品

产品类别
  • 产品->电力电缆附件->1-35kV可分离连接器及配套产品
应用描述
  • 1-35kV可分离连接器及配套产品

结构尺寸

blob.png

关联产品
常购商品
为您推荐
公司简介|联系我们|网站地图|隐私声明|平台协议|快递查询

物料名称

物料编码

备注*